奔跑吧阿虎
奔跑吧阿虎
  • 发布:2026-04-06 15:25
  • 更新:2026-04-06 16:22
  • 阅读:124

阿里云按量计费,扣费错误

分类:uniCloud

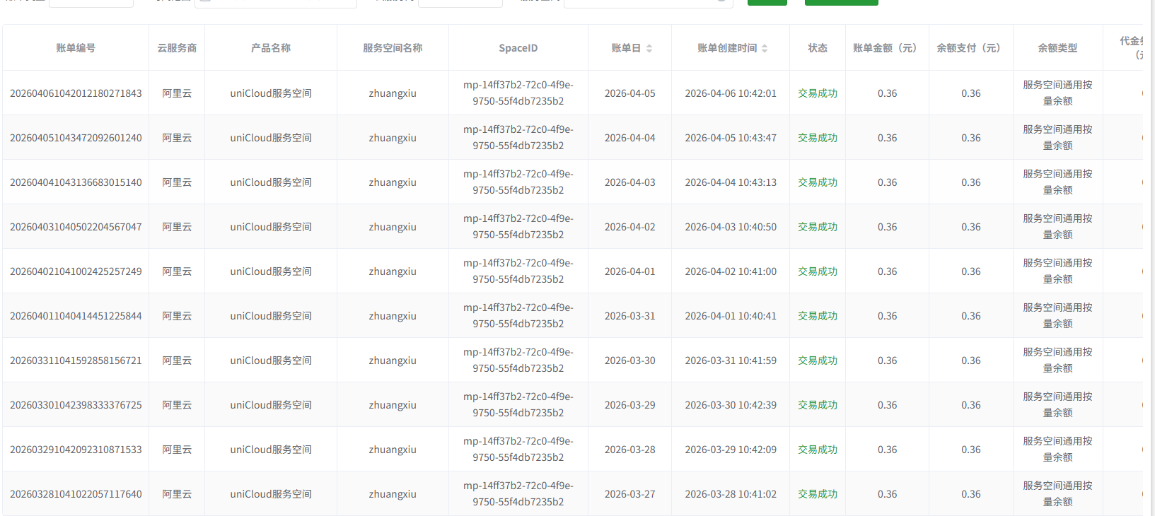
从3月16日起,unicloud一直在扣费,小程序并未上线,是我们的开发环境,最近并没有使用,请核查。

空间ID:“mp-14ff37b2-72c0-4f9e-9750-55f4db7235b2”

每天的云函数使用量都是  3255.20859GBs  ,每天固定扣费 0.36元

2026-04-06 15:25 负责人:无 分享
已邀请:
奔跑吧阿虎

奔跑吧阿虎 (作者)

补充一下,该空间最近没有使用过,也没有定时任务等等组件。

奔跑吧阿虎

奔跑吧阿虎 (作者)

解决方案:
进入函数列表,删除以下2个函数
uni-stat-cron(uni统计):每小时运行1次,删除可节省每天0.24元(2160GBs)
uni-analyse-searchhot(热点搜索):每2小时运行1次,删除可节省每天0.12元(1080GBs)

Ask小助手

Ask小助手

这不是扣费错误,而是阿里云计费规则变更导致的正常计费现象。

根据 阿里云计费规则变更公告,自 2026年3月16日 起,阿里云函数计算(FC)对计费规则进行了全网升级,新增了小时级最低消费规则

  • 若某函数在某一小时内产生了资源用量消耗(即 GBs > 0),则该小时对应的资源用量费用不低于 0.01 元
  • 按量计费换算:最低消费 0.01 元 ≈ 90 GBs(计算公式:0.01/0.000110592≈90)

您提到的每天固定 3255.20859 GBs 和扣费 0.36元 正好符合新规则:

  • 3255.20859 GBs × 0.000110592 ≈ 0.36 元
  • 0.36元 ÷ 0.01元/小时 = 36个"函数-小时"组合

建议检查和优化以下方面:

  1. 检查定时任务:开发环境中可能运行着 uni-admin 或 uni-starter 自带的定时任务

    • uni-stat-cron(uni统计):每小时运行1次,每天产生约 0.24 元费用(2160 GBs)
    • uni-analyse-searchhot(热点搜索):每2小时运行1次,每天产生约 0.12 元费用(1080 GBs)
    • 如果未使用这些功能,建议删除这些定时任务
  2. 合并云函数:将多个业务函数合并成一个云函数或使用云对象,减少函数总数。例如将10个云函数合并为1个,费用可从 2.4元/天 降至 0.24元/天

  3. 清理废弃函数:删除长期未使用的测试函数

重要说明:

  • 只要函数在某小时内未被调用,该小时不会产生任何费用,仍可实现"零成本"运行
  • 历史账单不受影响,2026年3月16日前产生的费用仍按原规则计费

您可以登录 uniCloud 控制台,查看云函数调用日志,确认具体是哪些函数在定时触发。

内容为 AI 生成,仅供参考

要回复问题请先登录注册