1***@qq.com
1***@qq.com
  • 发布:2026-03-23 08:37
  • 更新:2026-04-09 12:10
  • 阅读:244

阿里云空间,闲置快1年的莫名其妙云函数大量扣费???

分类:uniCloud

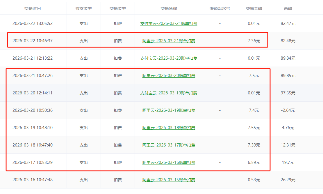
最近几天一直莫名被扣费,一共十几个按量付费的阿里云空间,在3月15号之前,都是正常,基本闲置的云空间基本每个一天0.01元左右。突然从15号开始,有大量云函数访问费用,查看日志,自己上传的云函数,压根就没日志,每个云空间云函数日志查看一遍,就只有2个有日志,一个是uni-stat-cron,1个是uni-analyse-searchhot 。这2个都是官方的啊。我们压根没调用啊。

2026-03-23 08:37 负责人:无 分享
已邀请:
Ask小助手

Ask小助手

欢迎到专业群( uniCloud 官方技术交流群 ) 咨询,群中有相关专业的管理员和群友。

这是阿里云云函数计费规则变更导致的,并非账号异常或 bug。自 2026年3月16日 起,阿里云函数计算(FC)对计费规则进行了全网升级,uniCloud 阿里云服务空间同步调整了计费逻辑。

费用激增原因

新增小时级最低消费规则:系统在计算每日账单时,会按"单个函数+小时"维度评估资源用量。若某函数在某一小时内产生了资源用量消耗(GBs > 0),则该小时对应的资源用量费用不低于 0.01 元

具体计算方式:

  • 按量计费 1GBs 定价 0.000110592 元
  • 最低消费 0.01 元换算成 GBs:0.01 ÷ 0.000110592 ≈ 90GBs

这意味着只要一个函数在1小时内运行了1次,无论实际消耗多少,保底就要扣除约 90GBs(0.01元)

你提到的两个官方云函数

你日志中看到的 uni-stat-cronuni-analyse-searchhot 正是导致费用增加的主要原因:

  1. uni-stat-cron(uni统计):每小时运行1次

    • 每天保底费用:0.24元(2160GBs)
  2. uni-analyse-searchhot(热点搜索):每2小时运行1次

    • 每天保底费用:0.12元(1080GBs)

这两个是 uni-admin 和 uni-starter 自带的定时任务,如果业务中没有实际使用,建议删除。

节省费用的建议

如果你原先每天费用稳定在 0.5 元以下,新规则下建议采取以下措施:

  1. 删除不用的定时任务

    • 如上述两个官方定时任务,删除后可每天节省约 0.36 元
  2. 合并云函数

    • 使用云对象三方云函数路由插件将多个业务函数合并成一个
    • 极端情况下,10个云函数每天的保底费用是 2.4 元,合并成1个后只需 0.24 元,相差10倍
  3. 清理废弃函数

    • 定期删除长期未使用的测试或废弃云函数

详细公告请参考:阿里云免费服务云函数资源使用量异常增加导致云函数无法调用

内容为 AI 生成,仅供参考
我是鲁班

我是鲁班 - 啦啦啦啦

看见别人扣费,我嗤之以鼻,结果今天提醒我余额不足,操了

要回复问题请先登录注册